- 收藏
- 加入书签
从仿制到创新:定时开关产品自主研发路径探讨
摘要:本文以定时开关产品的自主研发为例,探讨了从仿制到创新的研发路径。文章重点介绍了AH711定时开关和AHC18ld定时开关的开发过程。AH711定时开关原先完全仿制,但在生产过程中遇到“磁芯”工艺要求高且国内加工水平难以达到的问题,导致产品失效。改进结合现有定时开关的优势,替换电机并重新设计齿轮传动机构,最终成功批量生产并出口国外。AHC18ld定时开关则由于内置镍氢电池的质量问题影响产品质量,通过增加外置可换电池功能解决了这一短板,提高了产品质量和销量。
关键词:定时开关;自主研发;AH711定时开关;AHC18ld定时开关
引言
在现代社会,随着智能家居和自动化控制技术的迅猛发展,定时开关产品作为一种重要的控制装置,广泛应用于家庭、商业及工业场所。定时开关不仅能有效节约能源,还能提升使用方便性和安全性,因此市场需求不断增加。早期的定时开关产品大多依赖于国外技术,国内企业主要通过仿制方式进行生产,产品在技术和质量上存在一定的局限性。以AH711定时开关为例,该产品原先完全仿制国外型号,但在实际生产过程中,发现其关键零件“磁芯”由于国内工艺水平的限制,定时开关AHC18ld在设计之初就难以达到耐用性,造成产品频繁失效。由于内置镍氢电池的质量问题,产品的整体性能和市场口碑也受到了一定的影响。国内企业逐渐认识到自主研发的重要性,不断改进设计和工艺,解决了诸如电机和齿轮传动机构以及电池等关键问题,最终成功推出一系列性能优良质量可靠的定时开关产品,在提高产品的市场竞争力促进国内定时开关行业的技术进步和发展过程中起到了重要的促进作用。所以,对从仿制到自主研发的定时开关产品开发路径的研究,既有现实意义又有理论上的价值。可以进一步深入研究。从仿制到自主研发的定时开关产品开发路径,既需要企业提高自主创新能力,又需要政府在资金技术政策等方面给予扶持。
1.定时开关产品的发展历程
1.1 仿制阶段
定时开关产品在20世纪80年代末和90年代初开始在中国市场逐步普及。彼时,中国的技术水平和生产工艺相对落后,很多企业选择通过仿制国外先进产品的方式快速进入市场。这一阶段的典型产品如1990年左右引进并仿制的AH711定时开关,成为国内市场的先行者。仿制阶段的产品大多在外观和基本功能上与国外产品相似,但由于缺乏对核心技术的深入理解和掌握,产品质量和性能一直存在较大差距[1]。
在这一阶段,仿制产品面临的最大挑战是关键零部件的生产工艺。例如,1995年推出的AH711定时开关,虽然在设计上完全仿照国外型号,但其关键零部件“磁芯”的加工精度和耐用性却难以达到进口产品的标准。由于国内磁芯材料质量水平的限制,磁芯与磁芯轴在使用一段时间后容易出现磨损,导致磁芯不能正常运转,进而影响产品的整体性能和寿命。这一问题不仅提高了生产和维护成本,还降低了产品的市场竞争力。
1.2 自主研发阶段
进入21世纪,中国的制造业和科技水平迅速提升,企业逐渐意识到仅靠仿制难以长期发展,开始积极投入自主研发,提升产品的技术含量和市场竞争力。2000年以后,国内许多企业开始组建专业研发团队,针对定时开关产品中的关键技术瓶颈进行攻关。
2002年,国内企业在自主研发方面取得重大突破,改进后的AH711定时开关成功上市。该产品通过替换原有的高难度加工磁芯,采用现有定时开关用的成熟电机组合,并重新设计了齿轮传动机构,显著提高了产品的稳定性和耐用性。经过反复试验和改进,这款产品不仅满足了国内市场需求,还成功出口到国际市场。
2008年,中国定时开关产品的自主研发进入新阶段。AHC180b定时开关和ALST8楼道用定时开关相继推出。AHC180b定时开关采用了更加精密的时间控制系统,而ALST8楼道用定时开关则针对楼道照明需求进行了专门设计。这些新产品不仅丰富了国内市场的产品种类,还显著提升了国产定时开关的市场竞争力。2010年,国内自主研发的定时开关产品逐步获得国家专利和国际认证,标志着中国在定时开关领域的技术创新和自主研发能力得到了广泛认可。
2. AH711定时开关的开发与改进
2.1 原始设计与问题
AH711定时开关最初的设计完全仿制自国外先进产品,产品见图2-1,其基本构造包括一个电机、磁芯、齿轮传动机构和电子控制模块。电机带动磁芯转动,通过齿轮传动机构实现时间控制功能。虽然这种设计在理论上可以实现高精度的时间控制,但在实际生产过程中,问题逐渐显现。
原设计中的电机磁芯是关键部件,其加工精度要求极高。磁芯需要与磁芯轴完美匹配,才能保证电机的正常运转[2]。国内的加工技术在精度和耐用性方面难以达到这一要求。生产出的磁芯与磁芯轴在短期使用后就会出现磨损,导致磁芯无法正常转动。这个问题不仅导致产品失效频率高,还增加了生产成本和维护成本。
2.2 关键问题的解决方案
AH711的主要特点是:完全采用机电结构,定时开关驱动线路是采用单片机控制输出定时脉冲来驱动同步石英电机,定时开关的定时机构全部采用机械机构,同步石英电机经齿轮传动系统减速带动相关定时设定机构控制接触系统来完成触点定时转换功能。
通过对原装AH711样品结构的分析、测试及试制后发现:原装AH711的电机驱动部分和齿轮传动系统的设计和工艺性上存在着问题,使的产品使用寿命不长,批量生产制量难以控制。
具体如下所述:
原装AH711电机组件的缺点
如图,2-2所示:电机组件不是一个整体的部件,它的定子部分(电机线圈及铁芯)和磁芯转子是通过安装到底座上才形成一个完整的电机组件,这种电机组件装配时难以控制装配质量,装好的质量也不稳定。
电机磁芯转子及电机齿轮是用铁氧体粉末和粘合树酯注塑成一体的,这种结构存在以下缺点:
①电机磁芯转子及电机齿轮的同轴度难以做到要求;
②电机齿轮的尺寸精度达不到要求;
电机磁芯转子是套在装在底座上的轴转动的,磁芯转子和轴因磨擦掉下来的磁粉会卡住磁芯转子。
改进电机组件结构特点
电机组件制成一个整体的部件,具体见图四所示:电机是由电机上盖、电机下盖、磁芯组件、电机齿轮、左铁芯、左铁芯、线圈等组成,见图(2-3)该电机组件的特点是:
① 电机组件可以事先做成一个整体的部件,装配时质量好控制,适合批量生产,装到产品中稳定性好。
② 将电机齿轮和磁芯转子组件分成两个零件来做,电机齿轮用POM塑料注塑成型,保证了精度要求。
③ 磁芯转子组件采用铁氧体磁环和磁芯轴用POM塑料一起注塑成型,这样既保证了磁芯与电机齿轮的同轴度,又解决磁芯轴和磁芯的因磨擦卡住的问题。
原装AH711齿轮中轴齿轮组合离合装置(以下简称离合装置)的缺点
离合装置在定时开关中的作用是把电机产生的力距从离合装置前一级齿轮能正常传递到离合装置后一级齿轮,而离合装置后一级齿轮因人为调整定时开关时间产生的力距则不能传递到离合装置前一级齿轮。这样就能够用手转动定时开关的透明秒盘对定时开关进行时间调整,否则用手无法转动定时开关的透明秒盘调整定时开关的时间。
原装AH711离合装置的结构如图2-4所示,它是由离合轴齿轮、金属夹片、金属齿轮、金属圆盘组成,靠金属圆盘和离合轴齿轮铆合后将金属圆盘、金属夹片、离合轴齿轮、金属齿轮四者压紧而成,用离合轴齿轮和金属齿轮的磨擦力来起离合作用的,这种结构很不可靠,离合轴齿轮和金属齿轮的磨擦力大小很难控制,磨擦力大了用手无法转动定时开关的透明秒盘,磨擦力小了电机产生的力距不能从离合装置前一级齿轮能正常传递到离合装置后一级齿轮,定时开关的走时功能及调时功能很难保证。
针对原装AH711样品传动机构设计和工艺性上存在着问题,我公司在不改变原定时开关安装尺寸及使用功能的基础上对AH711传动系统进行重新设计,传动系统改进后与改进前对比如图三所示。改进方案为重新设计产品上盖、底板、相应齿轮传动系统,电机组件采用整体结构、原来的轴齿轮组合离合装置改为棘轮组合离合装置。具体如下所述:
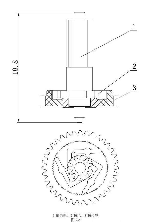
改进棘轮组合离合装置(以下简称离合装置)的特点
如图2-5所示:棘轮组合离合装置是由棘轮和轴齿轮组成,棘轮有三个成120°分布的棘齿,和轴齿轮内齿圆配合时有单相转动功能,即能把电机产生的力距从离合装置前一级齿轮能正常传递到离合装置后一级齿轮,而不能把因人为调整定时开关时间产生的力距从离合装置后一级齿轮传递到离合装置前一级齿轮。可靠的保证了定时开关的走时功能及调时功能。
AH711定时开关的改进更换了原有的电机,选用了成熟且性能稳定的定时开关电机。新的电机不仅具有更高的可靠性和耐用性,还能简化生产工艺,降低加工难度。为了保证新电机与定时开关其他部件的兼容性,重新设计了齿轮传动机构。
新的齿轮传动机构设计是以优化传动效率和避免了磁芯和钢轴之间的磨损为主要目标,以改善其耐用性能.对齿轮间的配合精度进行严格控制,使传动过程中能平稳高效地传递动力;对电机和齿轮传动机构也做了进一步的改进,对电子控制模块也进行了优化;采用更加高效的电路设计和抗干扰措施,以增加定时开关的工作稳定性和精准度。通过上述措施,使齿轮传动机构在传递动力的同时,提高了其效率和稳定性,同时也降低了磨损。
2.3 改进后的成果与市场表现
改进后的AH711定时开关,经过一系列设计改进和工艺优化后,在性能和可靠性上都有了显著的提升,新电机的使用既解决了磁芯磨损导致的失效问题,又使产品的整体生产成本得到了有效控制,而且重新设计的齿轮传动机构和优化的电子控制模块,使定时开关的时间控制更为精确,在使用寿命上也得到了明显的延长。因此,改进后的AH711定时开关,不仅性能更加可靠,而且具有更高的性价比。
改进后的AH711定时开关经过内部测试和试生产阶段,表现十分出色,稳定性和耐用性均达到预期目的,随着生产工艺的日趋成熟,产品逐步进入批量生产阶段,并迅速得到了市场的认可,用户反馈表明,新版AH711定时开关在使用过程中表现出色,故障率明显降低,维护费用也大幅降低,因此客户满意度得到大幅提升,产品市场占有率也稳步上升。
在市场表现上,经过改进的AH711计时开关,在顺利打开国内市场的同时,也通过了进入国际市场的质量认证。年产品出口量的增长,使其成为公司出口的主要产品之一。团队继续小幅优化AH711定时开关,针对不同客户需求,增加可换外置电池规格。这一系列的改进措施使AH711计时开关在为企业带来显著经济效益的同时,也保持了在市场上较强的竞争力。
3.开发优化SUL18d定时开关
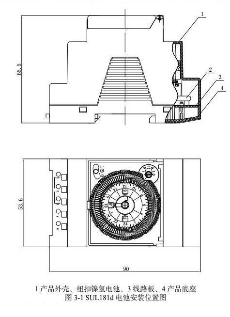
3.1 产品设计与内置电池问题
SUL18d定时开关在设计之初就采用了内置的纽扣镍氢电池,电池安装位置图见图3-1以便在主电源断电的情况下,能够提供保证定时功能依然正常运转的备用电源。这一设计思路源于对市场需求的调查,发现用户有更多的需求是,在断电之后,定时开关仍然可以很精准的工作。不过,在实际使用中,内置的纽扣镍氢电池还是暴露出了一定的问题。纽扣镍氢电池由于温度和使用频率的影响,容易导致续航时间缩短,因而性能稳定性较差[3]。另外,长时间使用后电池会有漏液的危险,可能会对电路板造成损坏,对整个定时开关的寿命造成影响。
这些问题都对产品的品质、用户的使用感受造成了不良的影响。市场反馈显示,由于内置电池不够可靠,造成退货率较高的产品。一年内需要更换电池,用户普遍反映,使用成本增加,维修难度加大。这些问题促使团队为解决内置电池的技术瓶颈,提高产品的整体性能和用户满意度,对产品进行了重新设计。
3.2 增加外置可换电池的解决方案
增加外置可换电池不仅可以延长电池的使用寿命,还方便用户自行更换电池,减少了维护成本。经过多次讨论和实验,选择了性能更为稳定的柱状镍氢电池作为备用电源。柱状镍氢电池具有更长的使用寿命和更好的温度适应性,能够在广泛的环境条件下稳定工作[4]。
经过优化后的产品改名为AHC18ld定时开关,在新的设计方案中,电池仓盖被设计成可方便用户打开电池仓盖进行电池更换的外置卡扣结构,电池安装位置图见图3-2。采用高强度塑料材质和精密的配合设计,防止灰尘的进入,确保电池仓的密封性。采用防腐蚀材料和防松动接头,优化了电池仓的连接电路设计,确保电路可靠安全。在电路设计方面,新方案优化了电池管理模块,推出了降低电池消耗的低功耗设计。新的电池管理模块可以在电量低于一定水平的情况下,智能检测电池电量并发出提醒信号,提醒用户及时更换电池。这样的设计在增强产品可靠性的同时,也改善了用户的使用体验。
3.3 优化后的产品性能与市场反馈
经过优化后AHC18ld定时开关在各种性能测试及用户使用中均表现良好。特别引入的1/3AA柱状镍氢电池在延长产品备用电源寿命的同时,也大大降低了用户更换电池的频率。外置可换电池的设计使得用户可以方便地自己动手更换电池,使维护费用得到降低。具体测试数据如下表3-1所示:如表3-1所示。对于AHC18ld定时开关的优化。
AHC18ld定时开关经过优化后在市场上的表现有了明显的提高,用户满意度评分从优化前的6.5分提高到9.2分,表明用户对产品的改进十分认可,产品退货率从优化前的15%降至2%,显示产品质量的显著提升,市场占有率从优化前的18%提高到20%,表明市场对优化后产品的高度认可。通过优化,AHC18ld的定时开关在市场上的表现得到了明显的提升。
实际使用中,AHC18ld的定时开关被用户普遍反映操作起来十分方便快捷,而且在更换电池方面也变得更加简单了。这使得产品的稳定性和可靠性得到了很大的提高。不仅如此,优化后的AHC18ld定时开关还在国内市场上获得了很好的成绩,并成功地将产品销售到了国外市场,而且出口数量也有明显的增加。
4. 从仿制到创新的研发路径
4.1 技术创新的必要性
技术创新成为提升企业竞争力的关键因素,这是在全球化竞争日益激烈的背景下取得的。虽然仿制阶段可以让企业迅速进入市场,但在实现可持续发展的过程中,产品缺乏核心技术。在技术壁垒面前,在市场需求变化面前,唯有通过自主创新,才能摆脱对外部技术的依赖,在满足市场多样化需求的同时,提升产品质量和性能。以定时开关为例,早期的仿制品由于关键部件技术问题频繁出现,造成产品寿命短,故障率高,用户体验和品牌美誉度受到严重影响。技术创新在解决这些问题的同时,也促进了企业的市场竞争力和自主开发能力的提升,使产品朝着高性能、智能化的方向发展。
4.2 研发团队的作用
在整个从仿制走向创新的过程中,一个高效的研发团队扮演的角色是极其关键的。团队不仅具备坚实的技能根基同时对商场的需求也有着敏感的把握力,进而推动了科技的发展与产品的迭代升级,为了持续迎合市场所求与消费者的希望,它们构成了一股不容忽视的强大势力。就定时控制器产品来说对市场回响及使用实况进行彻底审查,是确认技术难题和改良路径的关键手段。在充满巨大不确定性的情况下每位团队成员都能够运用个人的专长和技术能力,提出独创性的设计计划以应对核心技术挑战。因此在反复试验与改进的过程中,逐步增强产品的功能,确保其性能不仅符合而且超越市场的需求与消费者的预期。
4.3 设计与生产中的持续改进
设计生产环节的持续改进,对保证产品质量和性能具有十分关键的作用。具体到定时开关产品上,除了技术上的创新之外,改进过程还涉及工艺流程图的优化和生产效率的提高。在AHC18ld定时开关的优化过程中,针对内置电池的问题,设计团队采用1/3AA柱状镍氢电池并增加外置可换电池功能,从而解决了影响产品电池寿命短及维护难的瓶颈问题。同时,为了保证电池仓的密封性和可靠性,设计团队在生产工艺上作了相应调整,比如对电池仓进行改进设计,并采用高强度塑料材料,做到万无一失。综上所述,持续改进在设计和生产环节,都起到了积极而有效的促进作用。
5.结论
本文分析了AH711和AHC18ld定时开关的开发与改进过程,说明了从仿制到自主创新的研发路径的重要性。早期产品因关键技术瓶颈导致质量和稳定性出现问题,使企业不得不转向技术创新来解决这些问题。企业成功解决了磁芯磨损和电池寿命等难题,使产品的性能和市场竞争力得到显著提升,为企业的可持续发展奠定了坚实基础。这也验证了技术创新在提升产品质量和企业竞争力中所起的关键作用。
参考文献
[1]王昆,范文娜,陈渭红,等.智能家电电源开关定时系统的设计[J/OL].机电工程技术,1-6[2024-06-18].
[2]关瑞欣,党菠静.插座式定时开关的校准与不确定度分析[J].电子元器件与信息技术,2022,6(09):23-26.
[3]夏骏,王甜.基于STM32和GSM的远程遥控定时开关装置[J].电子科技,2013,26(01):112-114+130.
[4]栾彦利.基于STC11F08单片机定时开关的设计[J].科技信息,2012,(36):641-642.








京公网安备 11011302003690号